Inscriptio Us
Products
3V2 Solenoid Valvae 3 Way
  • 3V2 Solenoid Valvae 3 Way3V2 Solenoid Valvae 3 Way
  • 3V2 Solenoid Valvae 3 Way3V2 Solenoid Valvae 3 Way

3V2 Solenoid Valvae 3 Way

Sequens est introductio ad 3V2 valvae solenoidis 3 modo, OLK spes adiuvandi ut melius intelligas 3V2 valvae solenoides 3 modo. Excipe novos et veteres clientes ut pergere nobiscum cooperari ut melius futurum simul crearent!

Valva solenoideis 3V2 parva, levis, et facilis est ad institutionem. Eius corpus validum fit aluminium, quod aerugine et damno resistit. Valvula certa solenoideo coil utitur cum bene pro DC12V, DC24V, AC110V vel AC220V potentia.

Haec OLK notam 3V2 valvae solenoidis bene facit ad imperium aeris media-fluentis. Celeriter permutat, parva virtute utitur et diu durat. Potest normaliter occlusum (NC), normaliter apertum (NO), vel duplicatum-solenoideum. Saepe in lineis automationibus, machinis pacandis, machinis excudendis, machinisque cibariis adhibetur. Magnitudo eius parvitatem facit ut per spatia stricta perficiat.

3V2 valvae solenoidei 3 way Products characteristica

1.Direct-agens structuram cum sensitivo mutandi.

2.Normaliter clausa (NC) et normaliter aperta (NO) typi praesto sunt.

3. Coaxial consilium clausi-off ad signationem bonam et magnas fluxus.

4.No lubricatio requiritur.

5.Equipped with a manual override for easy installation and test.

6.Multiple vexillum voltage optiones in promptu sunt.

valvae 3V2 symbolum :

Mandans signum

3V

2

-

08

NC

A

 

 

 

Exemplar

Code

 

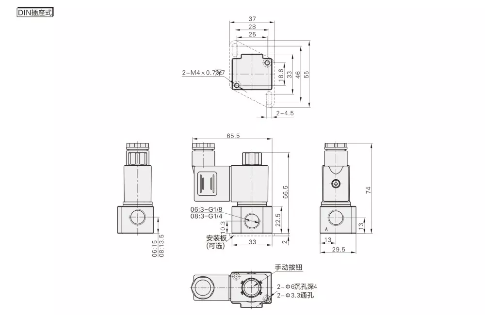
 Portus magnitudine

Agens genus

Standard voltage

Electrical entry

Genus sequela

 

3V:2 positio 3 via

2: series

 

06:G1/8

NC, Northmanni clausi

A: AC220V

Blank: tuum genus

Blank: G

 

 

 

 

08:G1/4

NO: Northmanni aperuit

B:DC24V

I: linea genus

M5;

 

 

 

 

 

 

C:AC110V

 

 

 

 

 

 

 

 

E: AC24V

 

 

 

 

 

 

 

 

F:DC12V

 

 

 


Exemplar

3V206

3V208

Opus Medium

Aer (percolatur 40 μm vel supra filter)

Aer (percolatur 40 μm vel supra filter)

Agens Type

Directum agentem

Portus Location

G1/8

G1/4

Position & Via

2 Positionem 3 modo

Effective Area

3.2 mm²(Cv = 0.18)

3.4 mm² (Cv = 0.19)

Lubricatio

Non requiratur

Operans Impetus dolor

0~0,8 MPa (0 ~ 114 psi)

Probatur Pressura

1.5 MPa (215 psi)

Temperatus operating (℃)

-20 ~ 70

Corpus Material

Aluminium Alloy

 

Standard voltage

AC220V AC110 AC24V  DC24V  DC12V

Voltage Range

AC:±15% DC :±10%

Virtus Consummatio

AC:7VA DC:7.0W

Praesidium Classis

IP65(DIN40050)

Insulatio Gradus

B Level

Connectens Type

DIN Plug Type / Line Type

Min.Excitation Tempus

0.05 Sec


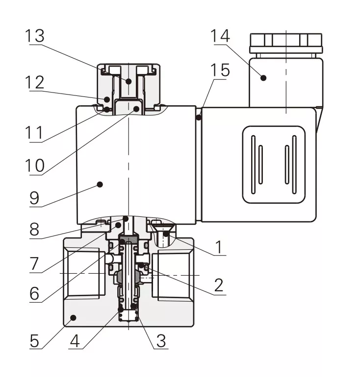
Nec.

Nomen

1

Countersunk Screw

2

spacer Sleeve

3

Core Conventus

4

Ver

5

Corpus

6

Gasket

7

Solenoid Conventus

8

Plunger Rod

9

Coil

10

Iron Core movere

11

Fixum elementum

12

Certum Nux

13

AC:7VA DC:7.0W

14

Terminal

15

Terminatio Gasket


Item

3V1-M5/3V1-06

2V025-06/2V025-08

3V2-06/3V2-08

3V3-08

Opus Medium

Air

Aer, aqua, oleum

Air

Air

Initium rei publicae:

NC

NC/NO

NO/NC

NO/NC

Lubricatio

Directum agentem

Directum agentem

Directum agentem

Directum agentem

Portus Location

M5;

G1/8;

G1/8;

G1/4

Position & Via

3 Port 2 Position

2 Port 2 Position

3 Port 2 Position

3 Port 2 Position

Lubricatio

Non required

Non required

Non required

Non required

Opus Pressura

0-0.7 MPa

0-0.7 MPa

0-0.8 MPa

0-0.8 MPa

Probatur Pressura

1.2 MPa

1.5 MPa

1.2 MPa

1.2 MPa

Orificium Location

φ1.2 mm

φ2.5 mm

Φ3.2 mm/φ3.4 mm

Φ11 mm (magnum aeris fluxum)


FAQs:

Q: Quid interest inter 3V2 et 3V3 valvae solenoid ?

A: 3V2: fluxus medii, secta systematis ditionis pneumaticae parvae

3V3 : alta fluxus, secta multiplicium cylindrorum vel applicationum summus fluitantium.

Distinctio structura: 3V3 corpus maius habet et altius pressionem et fluxum tractare potest.


Q: Quid est 3V2 valvae solenoidei orificium magnitudine?

A: 3V2-06 orificium valvae magnitudine est 3.2mm; 3V2-06 orificium valvae magnitudinis 3.4mm


Q: Quod products potest OLK 3V2 reponere?

A: OLK 3V2 substituere potest AIRTAC 3V2 series valvulae solenoides cum eodem functione et similibus specificationibus.


Hot Tags: 3V2 Solenoid Valvae 3 Via, Sina, Manufacturer, Supplier, Factory
Mitte Inquisitionem
Contactus info
Welcome to website! Percontationes de productis nostris vel pretioso, quaeso nobis electronicam relinque et intra 24 horas continuabimus.
E-mail
cici@olkptc.com
Mobile
+86-13736765213
Oratio
Zhengtai Road, Xinguang Industrial Zonam, liushi, Yueqing, Wenzhou, Zhejiang, Sina.
X
Crusulis utimur ut meliorem experientiam pasco tibi praebeamus, situm negotiationis et personalize contentus analyse. Hoc situ utendo, ad nostrum crustulorum usum consentis. Privacy Policy
Reject Accipe